Как работает сетевой фильтр
Фильтрация ненужных составляющих сигнала осуществляется, как это ни странно, специальными фильтрами, их собирают из индуктивностей (L) и конденсаторов (С). Ограничение всплесков высокого напряжения – варисторами. Это работает благодаря таким электротехническим понятиям – постоянная времени и законы коммутации, реактивное сопротивление.
Постоянная времени – это время, за которое заряжается конденсатор или накапливает энергию индуктивность. Зависит от элементов фильтра (R, L и C). Реактивное сопротивление – это сопротивление элементов, которое зависит от частоты сигнала, а также от их номинала. Присутствует у индуктивностей и конденсаторов. Обусловлено только передачей энергии переменного тока электрическому или магнитному полю.

Простыми словами – с помощью реактивного сопротивления можно снизить, ограничить высокочастотные гармоники нашей синусоиды. Известно, что в розетке частота питания 50 Гц. Значит нужно рассчитывать фильтр на частоты на порядок выше и более. У индуктивности сопротивление растет с ростом частоты, у конденсатора – падает. То есть принцип работы сетевого фильтра заключается в подавлении высокочастотных составляющих сетевой синусоиды, при этом оказывая минимальное влияние на основную 50 Гц составляющую.
Устройство сетевого фильтра
В зависимости от комплектации и ценовой категории сетевого фильтра, в нем могут быть установлены различные компоненты, являющиеся элементами тех или иных видов защиты. На данном этапе познакомимся с максимальной комплектацией сетевого фильтра.
Итак, «правильный» сетевой фильтр должен содержать в своем составе следующие элементы.
Кнопка включения
Подает питающее напряжение на группу розеток. Функционал достаточно простой — банальное включение и отключение напряжения для всех устройств, подключенных к фильтру. Может совмещать в себе функции предохранителя, вызывая обесточивание розеток при необходимости.
С точки зрения безопасности наиболее правильными считаются широкие кнопки, одновременно размыкающие линейный и нейтральный проводники. Так фаза никогда не появится на контактах при отключенной кнопке.

Предохранитель
Основная задача предохранителя — защита питающей сети от коротких замыканий в цепях потребителей, а также отключение устройств при превышении расчетной мощности, на которую спроектирован сетевой фильтр. Значения мощности и допустимого тока указываются на информационной табличке, нанесенной на корпус устройства.
Для схемы «Сигналищатор изменения напряжения»
Пользуясь различной радиоаппаратурой, мы часто наблюдаем резкое ухудшение ее работы. Но в эти моменты мы не задумываемся об истинной причине — изменении сетевого напряжения, которое иногда повышается или понижается на несколько десятков вольт. Особенно часто это бывает в селе.Предлагаю простую схему сигнализатора превышения сетевого напряжения (рис.1). Основой прибора является релаксационный генератор на динисторе VS1. Сетевое напряжение выпрямляется диодом VD1 и подается через резистор R1 на подстроенный резистор R2. С движка этого резистора часть напряжения поступает на конденсатор С1, который заряжается. Если сетевое напряжение не превышает нормы, напряжения зарядки конденсатора недостаточно для пробоя динистора, и он закрыт. Когда сетевое напряжение возрастает, напряжение на конденсаторе тоже возрастает, и пробивается динистор. Конденсатор С1 разряжается через динистор и последовательно соединенные головной телефон BF1 и светодиод. Кт838а схемы В головном телефоне слышен щелчок, а светодиод вспыхивает. После этого динистор закрывается, и конденсатор снова начинает заряжаться. Процесс повторяется до тех пор, пока напряжение в сети не станет ниже порогового. В сигнализаторе можно применить кроме указанного иной динистор из серии КН102 с меньшим напряжением пробоя, но громкость щелчков и яркость вспышек при этом уменьшится. Конденсатор типа МБМ, К73; резисторы: R1 — МЛТ-0,5, R2 -СПО-0,5; диод можно заместить на Д7Ж, КД102Б, КД105Б-Г; телефон ТМ-2, ТК-47 или иной низкоомный. Возможно, читателей заинтересует иной сигнализатор (рис.2). Этот сигнализатор следит не только за ростом сетевого напряжения, но и за его уменьшением. Когда сетевое напряжение меньше предельного, динистор VS1 закрыт. Через резисторы R1 и R2 заряжается конденсатор С1, и непрерывно г… Смотреть описание схемы …
Сетевой фильтр своими руками
Схема простейшего фильтра состоит из выключателя и варистора, вот как она выглядит:
V1 – это и есть варистор, его маркировка «471», значит, что его напряжение срабатывания 470В, при этом чем больше его диаметр, тем большую энергию он сможет погасить не взорвавшись при этом. Таким образом, чем больших размеров варистор вы поставите, тем лучше, лишь бы он влез по габаритам. Вот пример сетевого фильтра, собранного по этой схеме, но в заводском исполнении. Это дешевый прибор, который гасит лишь импульсы высокого напряжения. При этом он может безвозвратно выйти из строя при особо сильном всплеске.
Чтобы ваш сетевой фильтр еще и действительно был фильтром помех, необходимо добавить еще один фильтрующий элемент – дроссель.
Схемы – это, конечно, хорошо, но как сделать сетевой фильтр из подручных средств? Достаточно просто! Почти всегда у любителя что-нибудь мастерить, можно найти старый ненужный или нерабочий блок питания, в нём есть такой фильтр на входе. Осталось только его выпаять. На фото он стоит в ближнем к нам углу платы. Эта деталь представляет собой ферритовый сердечник и медную лакированную проволоку, намотанную вокруг него.
Это дроссель с двумя обмотками, через одну из них проходит фаза, а через другую ноль, таким образом индуктивность входит в состав сетевого фильтра и снижает уровень помех.
Кстати блок питания может работать и без него, многие китайцы так и делают свои товары, часто это встречается в дешевых БП для компьютера и не только. Из-за этого в сети и возникает такое большое количество нежелательных помех.
Если вы не нашли такого элемента в своих запасах – можно поискать ферритовое колечко с магнитной проницаемостью 400-2000 НМ и обмотать медной лакированной проволокой ПЭВ-2 (можно использовать первичную обмотку с 50 Гц сетевого трансформатора) диметром от 0,5 мм, это зависит от мощности нагрузки, которую вы хотите подключать. Намотать на колечко так, как показано на картинке, предварительно обмотав его несколькими слоями диэлектрика, например: изолентой, лакотканью, каптоновым скотчем.
Используйте провод с качественным, не поврежденным лаковым покрытием. А после намотки для надежности покройте деталь несколькими слоями лака. Петельку на конце нужно разрезать, в идеале – сразу мотать двумя параллельными проводами.
Хорошая схема, которую легко сделать своими руками выглядит следующим образом:
А вот конкретный вариант его реализации «в железе». За основы взята пара фильтров от БП.
Конденсаторы лучше применять керамические или пленочные. Их можно также достать из блока питания, они часто там встречаются возле сетевого разъема в прямоугольном корпусе в виде параллелепипеда.
Если есть ненужный БП можно просто отрезать часть платы с фильтром и использовать её. Вот пример на фото с указанием, что нужно отпилить для получения сетевого фильтра за пару минут. Только будьте осторожны и не перемкните металлическими опилками слои платы, это может привести к короткому замыканию. А готовое устройство обязательно поместите в токонепроводящий корпус для безопасности.
И вот еще один вариант схемы для повторения. Именно она и используется во множестве блоков питания стандарта ATX:
Сетевой фильтр – полезное и простое устройство, которое не сложно сделать самому в домашних условиях. А если учесть, что у многих есть несколько ненужных, неработоспособных приборов, то выходит, что запчасти буквально валяются у нас под ногами. Поэтому изготовление устройства, которое может продлить или даже спасти жизнь дорогостоящей аппаратуре, является очень выгодным занятием. Напоследок рекомендуем просмотреть несколько интересных видео-инструкций по сборке самодельного сетевого фильтра:
https://youtube.com/watch?v=HoumqP1g0eY
Самодельные сетевые фильтры
Нередко имеющиеся в продаже дешевые фильтры на самом деле фильтрами не являются. Например, фильтр-удлинитель (рис.9). Там внутри находится лишь варистор, ограничивающий кратковременные высоковольтные импульсы, которые иногда возникают в сети, и токовый размыкатель, срабатывающий при протекании большого тока (рис 10).

Рис. 9. Фильтр-удлинитель.

Рис. 10. Что внутри фильтра-удлиннителя.
На корпусе есть кнопка, которую нужно нажать, чтобы снова замкнуть размыкатель, если он сработал. Для превращения этого удлинителя в полноценный фильтр внутрь нужно встроить фильтрующие цепи.
На исходной схеме (рис.11а) S1 -токовый размыкатель, VR1 – варистор типа 471 (числом кодируется максимальное напряжение, а от диаметра зависит максимальная энергия подавляемого импульса).

Рис. 11. Схема фильтрующих цепей для встраивания в удлиннитель-розетку.
В доработанном варианте (рис. 11 б) добавляется RLC-фильтр. Катушки L1 и 12 вместе с конденсаторами С1 и С2 образуют LC-фильтр.
Индуктивное сопротивление катушек растет на высоких частотах. Чтобы ослабить и низкочастотные помехи, последовательно с катушками включены резисторы R1 и R2. Резистор R3 разряжает конденсаторы при отключении фильтра от сети. При сборке фильтра (рис. 12) варистор оставляется штатный (типа 471, диаметром 6…10 мм).
Чем больше сопротивление резисторов R1 и R2, тем лучше фильтрация, но больше их нагрев и потери напряжения в фильтре. Поэтому сопротивление резисторов выбирается в зависимости от суммарной мощности, потребляемой всеми теми устройствами, которые будут подключаться к фильтру (при указанных номиналах РНагр.макс=250 Вт).
Дроссели L1 и L2 – промышленные высокочастотные, типа ДМ-1 индуктивностью 50…100 мкГн. Конденсаторы – пленочные, типа К73-17 или аналогичные (импортные меньше по габаритам) емкостью не менее 0,22 мкФ (больше 1 мкФ тоже не нужно). Сопротивление резистора РЗ – не критично (от 510 кОм до 1,5 МОм).
Дополнительно на сетевой провод возле самого удлинителя желательно одеть ферритовую шайбу (удобнее всего разрезную на защелках – рис.13).

Рис. 12Сборка фильтра.

Рис. 13. Ферритовая шайба.
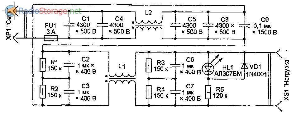
Другой вариант схемы помехоподавляющего сетевого фильтра приведен на рис. 14. Для большей эффективности он состоит из двух соединенных последовательно звеньев.
Первое (конденсаторы С1, С4, С5, С8, С9 и двухобмоточный дроссель 12) отвечает за подавление помех частотой выше 200 кГц.
Второе звено (двухобмоточный дроссель И с остальными конденсаторами) подавляет помехи, спектр которых простирается ниже указанной частоты (вплоть до единиц килогерц).

Рис. 14. Схема помехоподавляющего сетевого фильтра.
Благодаря магнитной связи между обмотками дросселей происходит подавление синфазных помех (тех, что наводятся одновременно на оба сетевых провода или излучаются ими).
Поэтому обмотки каждого дросселя должны быть одинаковыми и симметрично намотанными на магнитопроводы
Важно обеспечить правильную фазировку обмоток
Их начала обозначены на схеме точками. Дроссель L1 намотан на ферритовом магнитопроводе Ш12×14 с самодельным каркасом из злектрокартона сложенным вдвое проводом ПЭЛШО 00,63 мм. Обмотка содержит 87 витков. Марка феррита, к сожалению, неизвестна. Измеренная прибором 1.Р235 индуктивность каждой обмотки – около 20 мГн.
Для дросселя 1.2 использован броневой магнито-провод Б22 из феррита 2000НМ1. Его обмотки содержат по 25 витков и намотаны тем же проводом и таким же образом, что и обмотки дросселя L1. Индуктивность каждой обмотки дросселя L2 – 120 мкГн.
Конденсаторы первого звена фильтра – слюдяные. Поскольку малогабаритных конденсаторов такого типа требующейся для фильтра емкости на нужное напряжение не существует, пришлось соединить попарно-параллельно конденсаторы КСО-5 меньшей емкости.
Аналогичное решение, но с попарно-последовательным соединением конденсаторов С2, С3 и С6, С7 (пленочных зарубежного производства), принято и во втором звене фильтра для обеспечения нужного рабочего напряжения.
Подключенные параллельно конденсаторам резисторы R1…R4 выравнивают приложенные к ним напряжения и обеспечивают быструю разрядку всех конденсаторов после отключения фильтра от сети. Конденсатор С9 – типа К78-2. Плата фильтра помещена в заземленную металлическую коробку.
Материал подготовил В. Новиков. РМ-07-12, 08-12.
Источники информации:
- electroclub.info
- corumtrage.ru
- potrebitel.ru
Сетевой фильтр — неисправности и ремонт
Здравствуйте! В этой статье рассмотрим ремонт сетевого фильтра своими руками. Он применяется для подключения к бытовой сети группы потребителей(компьютер, принтер, сканер, источник бесперебойного питания, телевизора и т.д.). Имеет обычно не менее шести розеток и встроенную защиту по перегрузке.
На фото ниже показан сетевой фильтр, который попал ко мне на ремонт.
Прежде чем приступить к его ремонту хочу немного рассказать о основных неисправностях сетевых фильтров.
В первую очередь сетевой фильтр-это силовой элемент в вашей домашней сети. То есть он воспринимает всю нагрузку, суммарно потребляемую всеми бытовым приборам, подключенные к нему. Это нужно помнить в первую очередь. К примеру если на сетевом фильтре написано 220 вольт 10 ампер, то это значит что к нему можно подключить только столько бытовой техники, которая в сумме потребляет не более 10 ампер(2,2 кВт).
Поэтому чтобы преждевременно не вывести сетевой фильтр из строя, следует строго придерживаться предписаний его производителя. Помню встречался с такими случаями, когда в сетовой фильтр подключали одновременно электроплитку, кипятильник и пылесос(суммарная нагрузка около 5 кВт!). На такую нагрузку он точно не рассчитан, при этом питающий провод сетевого фильтра начинал сильно греться и в итоге плавиться. Не делайте так, если не хотите устроить в квартире пожар!
Неисправности сетевого фильтра: -отгорание провода в вилке питания в результате плохого контакта при нагрузке -подгорание контактов выключателя сетевого фильтра -повреждение автоматического защитного термопредохранителя -перегорание дорожек на печатной плате сетевого фильтра
При включении шнура питания сетевого фильтра в сеть и включении выключателя светодиод индикации включения в сеть мигал и из выключателя слышился небольшой треск. Ну тут часто виноват сам выключатель питания сетевого фильтра. Для того чтобы его проверить и сделать заключение о его исправности или наоборот, необходимо разобрать корпус сетевого фильтра. По обычаю он состоит из двух половинок, соединенных между собой при помощи саморезов. На фото ниже я посторался показать их место расположение.
При внимательном осмотре саморезов выяснилось следующее: три самореза под крестовую отвертку, а три под плоскую. Все бы хорошо, да не совсем. Саморезы под плоскую отвертку, как оказалось, имеют хитрую конструкцию, которая позволяет их только закрутить. Они представляют собой подобие храповика под пусковую ручку для автомобилей.
Поэтому открутить их так просто не удалось. Но как говорится, нет безвыходных ситуаций. Особенно для тех, кто хорошо знает волшебные слова русского языка:)). Вот применяя их и вспоминая «добрым словом» изготовителей сего чуда саморезов и манипулируя простой плоской отверткой, их понемногу открутил. Для этого приходилось более сильнее прижимать отвертку к саморезу и создавать так называемое торцевое трение жала отвертки об хитрый саморез.
Рассоединяем две половинки корпуса сетевого фильтра и видим следующую картину
На ней видим сами шесть розеток с зануляющими шинками, термопредохранитель с кнопкой включения, плату сетевого фильтра. Нам необходимо добраться до выключателя питания. Для этого открутите два самореза крепления печатной платы.
Переворачиваем аккуратно плату и видим сам выключатель.
Нам необходимо его выпаять. На фото ниже я показал место пайки ножек выключателя сетевого фильтра.
Выпаиваем выключатель и кладем его на стол.
Ремонт выключателя сетевого фильтра выполняется в следующем порядке. Необходимо при помощи тонкой плоской отвертки вывести фиксатор кнопки из корпуса выключателя с двух сторон и вытащить сам верх кнопки.
На фото ниже видно, что под ней расположены подвижные контакты из пружинистой стали.
Запомните их расположение и снимите их.
Под ними в глубине вы увидите неподвижные контакты.
На обоих фото хорошо видно, что контакты сильно подгорели. Берем мелкую наждачную бумагу и аккуратно зачищаем подвижные контакты. Чтобы зачистить в глубине неподвижные контакты удобно использовать расплетенный на конце мотоциклетный тросик.
После того как все зачистили, устанавливаем подвижные контакты на место и ставим верхнюю часть выключателя до щелчка.
Впаиваем выключатель и собираем сетевой фильтр в обратном порядке.
Теперь вы знаете как отремонтировать сетевой фильтр своими руками. Пользуемся и радуемся произведенному ремонту! Пока!
Подробности
Схема сетевого фильтра на 220 В
- Колебания высокой частоты, попадая на катушке индуктивности, увеличивают ее степень сопроивления и потому не пройдут далее (индукционное сопротивление соразмерно частоте).
- Попадания на контакты на конденсаторе будут гасить высокие частоты при правильном выборе емкости (сопротивление емкости при подобном методе подключения обратно соразмерно частоте токовых колебаний).
На двух схемах параллельно конденсатору будет подключен резистор с огромным сопротивлением. Он будет выполнять роль нагрузки для такого элемента, как конденсатор, при выключении питания (на конденсаторе может начать скапливаться свободный тип заряда, который является опасным даже после 100%-ого отключения фильтра от сетей переменного тока). Простейший сетевой фильтр можно сделать своими руками. Кстати, ферритный фильтр лучше всего покупать в виде разъемного по диаметру удлинительного кабеля. Его предназначение в работе схемы – это подавление помех высокой частоты по цепи электропитания за счет увеличения проводниковой индуктивности, а еще поглощения излучений непосредственно ферритом. Это прекрасное решение для того, что подключаться к сети электропитания домашней техники. Возможны и остальные осуществления сетевого электрофильтра. В роли примера можно приводить схемы, которые применяют в технике Пилот.
Предоставляем вам инструкцию по сборочному процессу обычного фильтра для сети собственноручно. Собрать фильтр из предложенных схем достаточно просто, и для этого не потребуется плат печатного типа или единочного корпуса на удлинителе. При хорошем выборе размером элементов и их компоновки можно вмещать их в корпусе недорогостоящего варисторного фильтра для сети. Цепь, которая есть в наличии, должна быть разрезана (контакты от варистора до розеток, а непосредственно варистор оставляют), а элементы будут размещены в соответствии со схемой и спаиваются. Должно все получиться как по схеме.
Конденсаторы С1 и С2 можно объединять в один, если есть нужные показатели и свободное место. Или же наоборот, набирать несколькими соединениями параллельного типа, если позволяет свободное место. Лучше всего применять пленочные емкости от 0.22 до 1 мкФ. Максимально допускаемое напряжение лучше брать с запасом (на случай помех с резкими изменениями напряжения), к примеру, до 680 В. Сопротивление R3 должно быть от 0.5 до 1.5 МОм. Мощность также лучше брать с запасом для лучшей тепловой отдачи 0.5 Вт. В схеме №3 поменяют катушки и конденсатор, и именно катушки обладают наиболее оптимальными показателями индуктивности при малых размерах и стоящих перед ними задачах. Получается, что для пайки вы будете использовать куда меньше деталей.
Меры предосторожности – что важно учесть
Изготовленный собственноручно сетевой фильтр с напряжением в 220 В является сложных техническим устройством. Его сборочный процесс невозможен без познаний в области электрической техники. Все работы должны быть выполнены с соблюдением всех мер по безопасности. В обратном случае есть вероятность поражения электрическим током. Как было написано ранее, конденсаторы были рассчитаны на высокий показатель напряжения.
Они способны накапливать остаточный заряд. Токовый удар будет возможным даже после полного фильтрового отключения от сети тока (переменного). По этой причине наличие параллельно подключенного сопротивления является обязательным.
Перед спаиванием требуется убедиться в том, что все элементы исправные (тестером важно замерять базовые параметры и сравнить с заявленным). Не следует допускать пересечение проводов, а тем более в местах потенциального нагревания (на оголенных контактах и резисторах)
Перед подключением в сеть обязательно важно убедиться (то есть «прозвонить» посредством тестера), если нет замыкания.
Схема фильтра защиты от сетевых помех
Этот фильтр — очень простая и аккуратная конструкция. В плане усовершенствования конструкции он может включать в себя дроссель на тороидальном сердечнике, защиту от перенапряжения на термисторах и варисторах.
Дроссели здесь использованы от фильтра EMI / RFI от импульсного источника питания, естественно дросселя с обмотками, намотанными на одно ядро, конечно будут в приоритете для такого фильтра, но не у каждого они есть (и есть желание грамотно намотать их), поэтому выбран упрощенный вариант — все равно будет отличная фильтрация.
Резистор немного нагревается, так что желательно заменить его более мощным, потому что с некоторым увеличением напряжения сети выше 250 В он может нагреться уже значительно.
Плавкий предохранитель лучше чтоб находился за розеткой, чтобы конденсаторы не вызывали пожар при коротком замыкании в случае сильного перенапряжения. По возможности добавьте варисторы высокой энергии для защиты от перенапряжения. Что касается резистора, это должен быть металлизированный резистор из высоковольтной серии. Вот пример промышленного фильтра:
Использование небольших расстояний между дорожками платы также оправдано, особенно когда речь идет о защите от перенапряжения. На приведенном ниже рисунке показано установленное на заводе решение по защите от перенапряжения, конечно же это не заменяет искровой разрядник, но как отсутствие какой-либо защиты вообще обеспечит большие потери в случае возможной проблемы.
Полезное: Гаражный обогреватель на базе стационарного автомобильного отопителя
Этот высокоэнергетический искровой промежуток, так называемая молниезащита. Его задача — взять на себя и уничтожить большую часть энергии в случае повреждения варистора. Предполагается, что в случае разряда высокой энергии между электродами искрового промежутка возникает дуга, вызывающая не только потерю большей части энергии, но и распыление медных дорожек, вызывающих металлизацию зазора и, следовательно, короткое замыкание на землю. Условием правильной работы является требование подключения физического заземления, а также автоматических предохранителей и выключателей остаточного тока. Такие фильтры и подобные схемы искрового разрядника находятся практически на любом оборудовании, таком как сетевые фильтры, источники питания, инверторы, как правило имеющие физическое соединение с землей.
Пошаговая инструкция
Процесс изготовления импульсного БП выглядит так:

- выполняют расчет изделия в онлайн-калькуляторе (публикуются на многих сайтах) или специальной программе. В зависимости от желаемых характеристик БП, ПО подберет параметры всех элементов: конденсаторов, транзисторов, дросселей и пр.;
- закупают все радиодетали;
- в пластине текстолита в соответствии со схемой и размерами элементов высверливают отверстия. Далеко не всегда удается добиться желаемых характеристик с первого раза, ввиду чего схему приходится дополнять компенсаторами и прочими элементами. Необходимо оставить для них место на плате;
- на схеме выбирают точки входа, помеченные символами «АС», припаивают предохранитель и далее один за другим все элементы согласно схеме;
- выполняют проверку.
Важно найти подходящую схему и правильно рассчитать параметры элементов.
Промышленные и самодельные фильтры для трехпроводной системы питания
Среди серийно выпускаемых изделий имеются довольно полезные технические решения, на которые домашнему мастеру стоит обратить внимание
Краткий обзор полезных функций заводских моделей
Одной из популярных разработок, широко представленной в торговле, считается серия фильтров Pilot разных конструкций.
Принципиальная электрическая схема сетевого фильтра Пилот показана на картинке для облегчения понимания его возможностей.
Остановлюсь на задачах, которые призван решать Pilot XPro, специально созданный для комфортной работы, продления ресурса подключенных потребителей и снижения расхода электричества. Это:
- защита варисторами от импульсных перенапряжений;
- предотвращение действия высокочастотных помех индуктивно-емкостными сопротивлениями;
- управление электропитанием за счет введения функции Master Control;
- защита от перенапряжений, связанных с обрывом нуля;
- плавное отключение и включение оборудования под нагрузку функцией Zero Start за счет исключения бросков тока встроенной схемой;
- автоматика включения потребителей после устранения аварийного пропадания питания;
- два уровня защиты от токовых перегрузок или коротких замыканий за счет плавкого предохранителя и биметаллического расцепителя;
- индикация подключения к сети и уровня напряжения питания;
- контроль температуры и автоматическое отключение при перегреве.
Функция Master Control определяет одну розетку основной (как master-розетка). На нее подключают основной потребитель мощностью более 50ватт, например, системный блок компьютера.
При его включении автоматика одновременно запитывает три других розетки с периферийным оборудованием. Она же отключает их при снятии питания с основного блока.
На корпусе имеются розетки, не управляемые микропроцессорной автоматикой. Их используют для освещения, телефона, другого оборудования
Более подробные сведения об этом оборудовании можете узнать в коротком видеоролике владельца ZIS Company.
Смотрим что внутри
Мы разобрались, где применяется сетевой фильтр, поэтому теперь давайте разберемся, из чего состоит реальный сетевой фильтр, абстрагируемся от теории.
- Фильтр помех.
- Кнопка или тумблер.
- Варистор.
- Розеточная группа.
- Сетевой шнур.
Внутренности дорогого и качественного фильтра, обратите внимание на батарею конденсаторов справа и размеры дросселя по центру:

Пойдем по порядку – фильтр. Конструкция такого элемента представляет собой LC-фильтр. Нулевой и фазные провода из розетки подключатся к катушке индуктивности (каждый к своей), а между ними 1 и больше конденсаторов. Типовые номиналы деталей:
- индуктивность каждой катушки – 50-200 мкГн;
- конденсаторы 0,22-1 мкФ.
Варистор – это полупроводниковый элемент с нелинейной ВАХ. При достижении определенного напряжения, приложенного к нему, защищает нагрузку кратковременным замыканием входных цепей питания, принимая «удар» на себя. Нужен для того, чтобы сберечь вашу технику от «плохого питания». Чаще всего применяется варистор на 470 Вольт. Принцип действия такой защиты очевиден – при скачках напряжения цепи питания защищаемой нагрузки шунтируются варистором.
Содержимое дешевого фильтра, здесь вообще нет дросселя – его эффективность минимальна, но всё еще есть варистор (голубой в центре кадра), и он спасет от скачков напряжения:

Для чего нужен тумблер, если всё может работать и без него? Просто чтобы вы не дергали каждый раз вилку из розетки, ведь, чаще всего через сетевой фильтр подключается стационарное оборудование. Это снизит износ контактных пластин розетки.
Принципиальная схема сетевого фильтра:






































